推荐产品
山东重弓汽车配件有限公司
联系人:于经理
电 话:13275338222
邮箱:8168490@qq.com
地 址:山东省淄博市

新闻资讯
您现在的位置:山东重弓汽车配件有限公司 > 新闻资讯
| 汽车板簧技术分析 |
| 时间:[2022/6/15] |
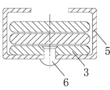
汽车钢板弹簧(简称板簧)由若干簧片组装而成。汽车板簧具有结构简单、工作可靠、成本低廉、维修方便等优点,在汽车悬架中广泛使用。组装单簧片时,除用到中间螺栓外,还需要夹子。 如下图所示,钢板弹簧上的夹子多为包夹子5,包夹子将多块簧片3夹在一起,再通过铆钉6将包夹子5的底部与最下方的一块簧片3固定。虽然包夹子在设计时与簧片之间预留了一个间隙,但使用过程中避免会与簧片接触而产生震动和噪音。
另外,汽车板簧中各个簧片通过中间螺栓和螺母锁紧在一起,但是中间螺栓通常为内六角或外六角螺栓,安装和拆卸都需要专用扳手;汽车板簧中各簧片厚度相等,刚度不好。 |
| 上一篇:汽车板簧厂家弹簧分类介绍 |
| 下一篇:汽车板簧的工作要求和技术要求 |
| 相关新闻: |



